Клапаны обратные предназначены для предотвращения движения перемещаемой по трубопроводам среды — воды — в обратном направлении.
![]() |
Модель 2406 / Артикул 2406 Одностворчатый межфланцевый обратный клапан Wafer. Check Valve ( single disk ) wafer type. Производство: Испания |
![]() |
| № | Описание | Размеры |
| 1 | Одностворчатый межфланцевый обратный клапан/Wafer/. | ![]() |
| 2 | Сделан из нержавеющей стали AISI 316. | |
| 3 | Наружные уплотнения - Витон(FKM). | |
| 4 | Дисковые уплотнения - Витон(FKM). | |
| 5 | Может быть установлен между фланцами DIN PN-25. | |
| 6 | Возможeн монтаж в вертикальном, горизонтальном и наклонном положениях. | |
| 7 | Макc.рабочее давление 16Kg / cm2. | |
| 8 | Макс.рабочая температура 180 ?C. | |
| 9 | Минимальная потеря напора |
| Модель | Размер | Диаметр | Давление | Параметры (мм) | Вес/кг | |||
| A | B | C | D | |||||
| 2401 09 | 2" | 50 | 16 | 101 | 54 | 44 | 66 | 1,85 |
| 2401 10 | 2 1/2" | 65 | 16 | 102 | 54 | 54 | 78 | 2,45 |
| 2401 11 | 3" | 80 | 16 | 133 | 57 | 68 | 89 | 3,10 |
| 2401 12 | 4" | 100 | 16 | 164 | 64 | 86 | 117 | 4,65 |
| 2401 13 | 5" | 125 | 16 | 194 | 70 | 108 | 141 | 6,90 |
| 2401 14 | 6" | 150 | 16 | 220 | 76 | 132 | 168 | 9,10 |
| 2401 16 | 8" | 200 | 16 | 275 | 95 | 180 | 210 | 14,50 |
| 2401 18 | 10" | 250 | 16 | 330 | 108 | 224 | 265 | 24,65 |
| 2401 20 | 12" | 300 | 16 | 380 | 143 | 262 | 311 | 39,95 |
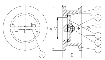
| № | Наименование | Материал | Чертёж |
| 1 | Корпус | Чугун марки GG-20 | ![]() |
| 2 | Шток / Stem | Нержавеющая сталь AISI 316 / SS 316 | |
| 3 | Седло | NBR | |
| 4 | Ось | Нержавеющая сталь AISI 316 / SS 316 | |
| 5 | Пружина | Нержавеющая сталь AISI 316 / SS 316 | |
| 6 | Шайба | Тефлон | |
| 7 | Стопор диска | Нержавеющая сталь AISI 316 / SS 316 |






