Дисковый поворотный завтворт - это тип арматуры, в котором запирающий элемент имеет форму диска поворачивающегося вокруг оси, перпендикулярной или расположенной под углом к направлению потока рабочей среды. Наша компания осуществляет поставки дисковых поворотных затворов Испанской фирмы Genebre.
![]() |
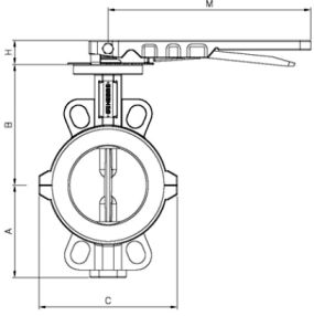
Модель 2104 / Артикул 2104 Межфланцевый дисковый поворотный затвор из нержавеющей стали. Butterfly valve water type Корпус нержавеющая сталь, диск:нерж.сталь Производство: Испания |
![]() |
| № | Описание | Размеры |
| 1 | Дисковый поворотный затвор с ручкой, межфланцевый. |
![]() |
| 2 | Корпус из двух частей , нерж.сталь AISI, возможность монтажа между фланцами согласно нормам ANSI 150 и DIN PN 10/16. | |
| 3 | Уплотнене из PTFE на базе EPDM | |
| 4 | Диск из нерж.стали AISI 316 (CF8M). | |
| 5 | Шток из нерж.стали AISI 316. | |
| 6 | Возможeн монтаж привода согласно нормам ISO 5211. | |
| 7 | Расстояние между фланцами согласно норме UNE EN 558-1 Serie 20 (DIN 3202 K1). | |
| 8 | Рабочая температура –25 C + 180 C. |
| Модель | Размер | Диаметр | Давление | Параметры (мм) | Вес/кг | |||||
| L | A | B | С | H | M | |||||
| 2104 09 | 2" | 50 | 16 | 43 | 74 | 136 | 117 | 32 | 264 | 3,80 |
| 2104 10 | 2 1/2" | 65 | 16 | 46 | 82 | 138 | 126 | 32 | 264 | 4,40 |
| 2104 11 | 3" | 80 | 16 | 46 | 90 | 138 | 142 | 32 | 264 | 4,90 |
| 2104 12 | 4" | 100 | 16 | 52 | 116 | 158 | 178 | 32 | 264 | 6,50 |
| 2104 13 | 5" | 125 | 16 | 56 | 132 | 174 | 202 | 32 | 264 | 8,20 |
| 2104 14 | 6" | 150 | 16 | 56 | 145 | 190 | 234 | 32 | *** | 9,60 |
| 2104 16 | 8" | 200 | 16 | 60 | 180 | 229 | 286 | 45 | *** | 14,70 |
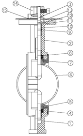
| № | Наименование | Материал | Чертёж |
| 1 | Нижний корпус | Нерж.сталь AISI 316 | ![]() |
| 2 | Верхний корпус | Нержавеющая сталь AISI 316 | |
| 3 | Верхний шток | Нержавеющая сталь AISI 316 | |
| 4 | Нижний шток | Нержавеющая сталь AISI 316 | |
| 5 | Седло | PTFE на базе EPDM | |
| 6 | Диск | Нержавеющая сталь AISI 316 | |
| 7 | Втулка шарнира | RPTFE | |
| 8 | Пружинная шайба | Нержавеющая сталь AISI 301 | |
| 9 | Уплотнительное кольцо | Viton | |
| 10 | Втулка шарнира | RPTFE | |
| 11 | Шайба | Нержавеющая сталь AISI 304 | |
| 12 | Стопорное кольцо | Нержавеющая сталь AISI 304 | |
| 13 | Стопорное кольцо | Нержавеющая сталь AISI 304 | |
| 14 | Ручка | Нержавеющая сталь AISI 304 | |
| 15 | Тарелка | Нержавеющая сталь AISI 304 |






